9659彩集团

CHI610E电化学分析仪/电化学工作站

CHI610E电化学分析仪/电化学工作站

产品型号:CHI610E

负责人:张雅丽

QQ:827928594

手机:13937153969

产品详情

9659彩集团CHI600E电化学分析仪


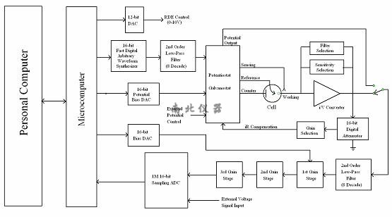
CHI600E系列为通用电化学测量系统。下图为仪器的硬件结构示意图。仪器内含快速数字信号发生器,用于高频交流阻抗测量的直接数字信号合成器,双通道高速数据采集系统,电位电流信号滤波器,多级信号增益,iR降补偿电路,以及恒电位仪9659彩集团/恒电流仪(660E)。电位范围为±10V,电流范围为±250mA。电流测量下限低于10pA。可直接用于超微电极上的稳态电流测量。如果与CHI200B微电流放大器及屏蔽箱连接,可测量1pA或更低的电流。如果与CHI680C大电流放大器连接,电流范围可拓宽为±2A。CHI600E系列也是十分快速的仪器。信号发生器的更新速率为10MHz,数据采集采用两个同步16位高分辨低噪声的模数转换器,双通道同时采样的Z高速率为1MHz。双通道同步电流电位采样可加快阻抗测量的速度。某些实验方法的时间尺度可达十个数量级,动态范围宽广。循环伏安法的扫描速度为1000V/s时,电位增量仅0.1mV,当扫描速度为5000V/s时,电位增量为1mV。又如交流阻抗的测量频率可达1MHz,交流伏安法的频率可达10KHz。仪器可工作于二,三,或四电极的方式。四电极可用于液/液界面电化学测量,对于大电流或低阻抗电解池(例如电池)也十分重要,可xiaochu由于电缆和接触电阻引起的测量误差。仪器还有外部信号输入通道,同步16位高分辨采样的Z高速率为1MHz。可在记录电化学信号的同时记录外部输入的电压信号,例如光谱信号等。这对光谱电化学等实验方便。 

CHI600E系列硬件采用了高速的处理器,快速的放大器,快速的模数转换器和数模转换器。计时电量法加上了模拟积分器。一个16位高分辨高稳定的电流偏置电路以达到电流复零输出,亦可用于提高交流测量的电流动态范围。高分辨的模数转换器具有好的信噪比,也给出了灵敏度设置的更大动态范围

CHI600E系列仪器的内部控制程序采用了FLASH存储器。仪器软件的更新不再需要通过邮寄并更换EPROM,而可以通过网络进行传送并通过程序命令写入。这使得软件更新更加快捷方便。

9659彩集团CHI600E系列还允许升级为双恒电位仪。新的设计通过增加一块dier通道的电位控制,电流电压转换,多级增益和低通滤波器的电路板,便成了CHI700E系列的双恒电位仪。CHI600E系列仪器集成了几乎常用的电化学测量技术。为了满足不同的应用需要以及经费条件,CHI600E系列分成多种型号。不同的型号具有不同的电化学测量技术和功能,但基本的硬件参数指标和软件性能是相同的。CHI600E和CHI610E为基本型,分别用于机理研究和分析应用。它们也是十分优良的教学仪器。CHI602E和CHI604E可用于腐蚀研究。CHI620E和CHI630E为综合电化学分析仪,而CHI650E和CHI660E电化学工作站。

16-36-24-22-12.jpg


 CHI600E 系 列 电 化 学 分 析 仪 / 工 作 站 的 框 图

 硬件参数指标

恒电位仪

9659彩集团·  零阻电流计

9659彩集团·  2,3,4电极结构

·  浮动地线或实地

9659彩集团·  Z大电位范围: ±10 V

·  Z大电流:±250 mA 连续, ±350 mA 峰值

·  槽压:±13 V

·  恒电位仪上升时间: 小于 1 ms, 通常 0.8 ms

9659彩集团·  恒电位仪带宽(-3分贝):1 MHz

·  所加电位范围:±10 mV, ±50 mV, ±100 mV, ±650   mV, ±3.276 V, ±6.553 V, ±10 V

·  所加电位分辨:电位范围的0.0015%

9659彩集团·  所加电位准确度: ±1 mV,±满量程的0.01%

·  所加电位噪声:< 10 mV 均方根植

·  测量电流范围:±10 pA 至 ±0.25 A, 12量程

·  测量电流分辨:电流量程的0.0015%,Z低 0.3 fA

9659彩集团·  电流测量准确度:电流灵敏度大于等于1e-6 A/V时为0.2%,其他量程1%

·  输入偏置电流:< 20 pA

 

恒电流仪

·  恒电流范围: 3 nA – 250 mA

·  所加电流准确度:如果电流大于 3e-7A时为0.2%,其他范围为1%,±20 pA

9659彩集团·  所加电流分辨率:电流范围的0.03%

·  测量电位范围: ±0.025V, ±0.1V, ±0.25V, ±1V,   ±2.5V, ±10V

·  测量电位分辨率:测量范围的0.0015%

 

9659彩集团Electrometer:  电位计

·  参比电极输入阻抗:1e12 欧姆

·  参比电极输入带宽: 10 MHz

·  参比电极输入偏置电流:<= 10 pA @ 25°C

 

波形发生和数据获得系统

·  快速信号发生更新速率:10 MHz, 16位分辨

·  快速数据采集系统:16位分辨,双通道同步采样,采样速率每秒1,000,000 点

9659彩集团·  外部信号记录通道Z高采样速率1M Hz

9659彩集团·  可拓展扫描电化学显微镜功能

附件

·电极线

·USB通讯线

·电源线

 

实验参数

·  CV和LSV扫描速度:  0.000001V/s 至 10,000 V/s

9659彩集团·  扫描时的电位增量:0.1 mV (当扫速为 1,000 V/s时)

9659彩集团·  CA和CC的脉冲宽度: 0.0001 至   1000 sec

·  CA的Z小采样间隔: 1 ms

9659彩集团·  CC的Z小采样间隔: 1 ms

·  CC模拟积分器

9659彩集团·  DPV和NPV的脉冲宽度:0.001   至 10 sec

·  SWV频率: 1 至   100 kHz

9659彩集团·  i-t 的Z小采样间隔: 1 ms

·  ACV频率范围:0.1 至 10   kHz

9659彩集团·  SHACV频率范围:0.1 至 5 kHz

9659彩集团·    FTACV频率范围:0.1 至 50Hz,可同时获取基波,二次谐波,三次谐波,四次谐波,五次谐波,六次谐波的ACV数据

9659彩集团·  交流阻抗: 0.00001 至 1 MHz

·  交流阻抗波形幅度: 0.00001 V 至 0.7 V 均方根值

 

其他特点

    ·  自动或手动iR降补偿

·  电流测量偏置:满量程,16位分辨,0.003% 准确度

·  电位测量偏置:±10V,16位分辨,0.003% 准确度

·  外部电位输入

9659彩集团·  电位和电流的模拟输出

9659彩集团·  可控电位滤波器的截止频率: 1.5 MHz, 150 KHz, 15   KHz, 1.5 KHz, 150 Hz, 15 Hz, 1.5 Hz, 0.15 Hz

9659彩集团·  可控信号滤波器的截止频率: 1.5 MHz, 150 KHz, 15   KHz, 1.5 KHz, 150 Hz, 15 Hz, 1.5 Hz, 0.15 Hz

·  旋转电极控制电压输出:0-10V 对用于 0-10000 rpm的转速,16位分辨,0.003% 准确度,需要某些旋转电极装置才能工作

·  通过宏命令可以控制数字输入输出线

9659彩集团·  内闪存储器可迅速更新程序

·  USB口数据通讯

9659彩集团·  电解池控制:通氮,搅拌,敲击(需要teshu电解池系统)

·  CV数字模拟器和拟合器。用户定义反应机理(CHI630E以上)或预定义反应机理(其他型号)

·  交流阻抗模拟器和拟合器(具有交流阻抗测量功能的型号)

·  Z大数据长度:256,000-16,384,000 点可选择

9659彩集团·  仪器尺寸: 37 cm (宽) ´ 23   cm (深) ´ 12   cm (高)

 

                                                                           CHI600E系列仪器不同型号的比较

功能

600E

602E

604E

610E

620E

630E

650E

660E

循环伏安法(CV)

l

l

l

l

l

l

l

l

线性扫描伏安法(LSV)#

l

l

l

l

l

l

l

l

9659彩集团阶梯波伏安法(SCV)#






l

l

l

9659彩集团Tafel图(TAFEL)


l

l



l

l

l

计时电流法(CA)

l

l

l


l

l

l

l

计时电量法(CC)

l

l

l


l

l

l

l

差分脉冲伏安法(DPV)#




l

l

l

l

l

常规脉冲伏安法(NPV)#




l

l

l

l

l

9659彩集团差分常规脉冲伏安法(DNPV)#








l

方波伏安法(SWV)#





l

l

l

l

9659彩集团交流(含相敏)伏安法(ACV)#






l

l

l

二次谐波交流(相敏)伏安法(SHACV)#






l

l

l

傅里叶变换交流伏安法(FTACV)








l

电流-时间曲线(i-t)






l

l

l

差分脉冲电流检测(DPA)








l

双差分脉冲电流检测(DDPA)








l

9659彩集团三脉冲电流检测(TPA)








l

9659彩集团积分脉冲电流检测(IPAD)








l

控制电位电解库仑法(BE)

l

l

l


l

l

l

l

9659彩集团流体力学调制伏安法(HMV)







l

l

扫描-阶跃混合方法(SSF)







l

l

多电位阶跃方法(STEP)







l

l

9659彩集团交流阻抗测量(IMP)



l




l

l

交流阻抗-时间测量(IMPT)



l




l

l

交流阻抗-电位测量(IMPE)



l




l

l

计时电位法(CP)








l

9659彩集团电流扫描计时电位法(CPCR)








l

多电流阶跃法(ISTEP)








l

9659彩集团电位溶出分析(PSA)








l

9659彩集团电化学噪声测量(ECN)








l

开路电压-时间曲线(OCPT)

l

l

l

l

l

l

l

l










恒电流仪








l

9659彩集团RDE控制(0-10V输出)






l

l

l

任意反应机理CV模拟器






l

l

l

9659彩集团预设反应机理CV模拟器

l

l

l

l

l




交流阻抗数字模拟器和拟合程序



l




l

l










价格(元)*

25,400

30,000

36,900

25,400

34,600

43,800

50,700

57,600

 注: #:包括相应的极谱法和溶出伏安法。用于极谱法时需要的静汞电极或敲击器。

*:价格不包括计算机。仪器的保修期为一年。

您可以通过在线留言联系我们: