南北仪器专业提供实验室仪器设备一站式解决方案
ATH-50P数显弹簧拉压试验机
一:概述
本试验机是测试拉伸和压缩弹簧的变形量和负荷关系特性的zhuan用仪器。适用拉伸和压缩弹簧的一定工作长度下的工作负荷测试。本试验机采用xian进的、高集成度的一体化单片机,和中文液晶显示,外型采用金属外壳,ji大的提高了系统的抗干扰能力。
二:功能特点
1、实时,峰值,自动峰值三种模式可随意切换
2、高精度高分辨率,精度1级,z小读数达0.001N
3、三种计测单位可选择,N、Kg、Lb相互换算
4、峰值保持功能:可抓取测试中的峰值;
5、比较功能:上下限偏差自由设定,报警指示灯分别以红绿灯显示及蜂鸣器自动报警;
6、自动峰值功能:峰值保持时间(1~99秒)自由设定;
7、自动关机功能:0~99分无操作自动关机(0秒表示不自动关机);
8、重力加速度功能:跟进地域不同,可自由设定(9.000~9.999);
9、存储99组测试数据,可直接在本机上查看存储数据及删除.
10、计算功能:连接电脑,可自动计算每次测试的z大值、z小值、平均值;
11、打印存储的测试数据和z大值、z小值、平均值,做合格或不合格判断(jin限于带打印机)
12、通讯采用MODBUS-RTU标准协议,采用USB接口更好地跟组态和PLC连接
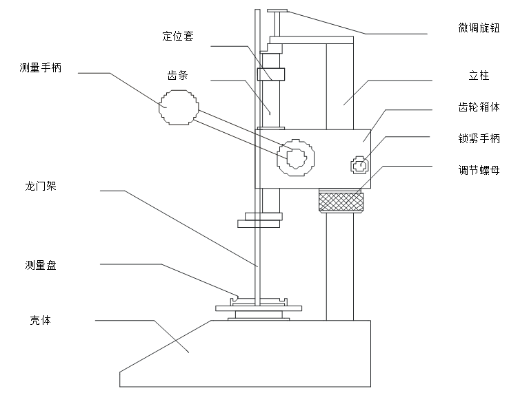
三:产品构造
1、示意图:

2、变形量显示尺框:


四:规格参数
型号(带P表示带打印机) | ATH-10 | ATH-20 | ATH-30 | ATH-50 | ATH-100 | ATH-150 | ATH-200 | ATH-300 | ATH-500 | ATH-1000 | ATH-2000 | ATH-3000 | ATH-5000 |
ATH-10P | ATH-20P | ATH-30P | ATH-50P | ATH-100P | ATH-150P | ATH-200P | ATH-300P | ATH-500P | ATH-1000P | ATH-2000P | ATH-3000P | ATH-5000P | |
z大试验负荷 | 10N | 20N | 30N | 50N | 100N | 150N | 200N | 300N | 500N | 1000N | 2000N | 3000N | 5000N |
z小分辨率 | 0.001N | 0.01N | 0.1N | ||||||||||
0.0001kg | 0.001kg | 0.01kg | |||||||||||
0.0001Lb | 0.001Lb | 0.01Lb | |||||||||||
位移标尺行程 | 60mm | 90mm | 150mm | ||||||||||
位移标尺分度值 | 0.01mm | ||||||||||||
压盘直径 | 34mm | 48mm | 108mm | ||||||||||
可测弹簧z大自由长度 | 80mm | 150mm | 200mm | ||||||||||
精度 | ±1% | ||||||||||||
电源 | 交流220V 50HZ | ||||||||||||
功率 | 不带打印13W 带打印机20W | ||||||||||||
工作温度 | 20±10℃ | ||||||||||||
净重 | 14.5kg | 18kg | 67kg | ||||||||||
外形尺寸 | 490×280×300mm | 570×280×300mm | 790×610×320mm | ||||||||||
五:显示面板

六:按键说明
1、设置键:用户在测量界面可以通过此键进入设置菜单,并且在设置数据时按此键保存数据。
2、查看键:在测量界面时通过此键可以查看存储的测量数据
3、峰值键:用来切换实时,峰值,自动峰值三种测量模式
4、保存键:用来保存测量的数据
5、单位键:用来切换N,Kg,Ib三种单位
6、置零键:在实时测量时,按此键,可以修正零点。在峰值和自动峰值时,按此键,可以清除峰值,恢复到零点;在查看界面时,按此键,可以清除当前储存测量值,长按此键,可以清除全部存储测量值。在用户设置界面,按此键,不保存数据退回上一级界面。
7、打印键:在测量界面,按此键,可以打印存储的测量值。(无打印功能的机子除外)
8、向上键:在用户设置界面,按此键可上下修改设置项,在参数设置时,按此键,可以按位移动,来选择要修改的位数;在查看界面,按此键,可以查看上一个数据。
9、向下键:在用户设置界面,按此键可以向下修改设置项,在参数设置时,按此键,可以在当前位进行数据修改;在查看界面,按此键,可以查看下一个数据。
10、ON/OFF键:可以用来开机,和关机。
七:用户操作说明
1、开机显示
开机显示欢迎使用以及厂家信息

显示产品名称,型号和版本信息

2、用户主界面显示
显示完开机显示信息之后,进入用户主界面显示如下:

D一行显示的内容根据用户设定的测量模式.可分为实时,峰值,自动峰值三种
D二行显示的内容是用户存储的数据地址
D三行显示的内容是当前测量的力值
3、用户设置界面
按一下设置键,显示如下:

通过向上键或者向下键进行设置项的选择,选择到用户的设置项时,通过按设置键进入参数设置界面。
4、参数设置界面(以上限值设定为例)
在用户设置界面,按设置键进入参数设置界面显示如下:

设置参数说明:通过向上键和向下键进行移位和数据修改,此时按设置键,确定并保存设置数据,(如按置零键返回,不修改数据)。设置的数据不能超过z大负荷值。
4.1 上限值设定
用户设定上限值,根据需要自由设定,达到上限值即自动声光报警,上限值不高于满量程.
4.2 下限值设定
用户设定下限值,根据需要自由设定,达到下限值即自动灯光报警,下限值不得高于设定的上限值.
4.3 z小存储值设定
用户根据存储需要设定z小存储值,小于该值的数据将不被储存.
4.4 z小峰值保持值设定
用户根据峰值,自动峰值测量需要自由设定,小于该值的数据不被峰值保存.
4.5 自动峰值时间设定
用户根据自动峰值测量状态下峰值需要保持的时间从1秒-99秒自由设定.
4.6 自动关机时间设定
无操作状态下,自动关机时间从1分钟-99分钟可自由设定.
4.7 重力加速度设定
用户可根据本地区的位置设定重力加速度值,本机默认9.794.
4.8 恢复初始设置
用户操作不当或多次更改数据出现混乱,可以通过此项设置来把1~7的数据恢复到出厂状态.
5、数显标尺使用说明
①、in/mm:此键为单位转换键,是英寸与毫米两者之间互相切换;
②、ABS:此键为jue对键;
● 显示窗显示某一数值,而数值上没有"ABS"字符出现,这时表示正常测量模式;
● 当按下此键后,显示窗将会显示为零,数值上有"ABS"字符出现,这时表示ABS测量模式,表示以此处为起始点测量距离,显示数值为ABS测量模式下的数值;
● 直到再次按下此键后,数值上没有"ABS"字符出现,表示又回到正常测量模式,显示数值为正常测量模式下的数值。
③、hold:此键为锁定记忆键,数值将被锁定,不发生任何变化再按一次锁定功能清除。
④、ON/OFF:此键为开关键,电源在开与关之间相切换;
⑤、ZERO:此键为置零键,将显示的数值清零。
八.其它功能说明
1、打印功能说明:通过微型打印机打印数据
2、通讯:通过USB和上位机进行通讯。通讯协议采用MODBUS-RTU协议,同步测试功能可连接电脑测试,电脑上同步显示测试力曲线图及测试过程中详细的测试力的记录,并可保存、打印,做各种分析。
3、保存数据:通过保存键保存测量时的数据
4、查看存储数据:通过查看键查看存储的数据
5、清除存储数据:在查看界面,通过按置零或者长按置零键,来清除当前或者全部存储数据
6、报警说明:当测量值超过上限值或者低于下限值时,蜂鸣器进行报警,面板上LED灯显示不同的颜色;当测量值低于下限值时,下限显示灯会显示。当测量值超过z大负荷的120%时,可能会导致传感器的损坏。当测量值超过z大负荷的150%时,肯定会导致系统的损坏。当出现“超载”jing告提示时,机器即进入自动保护状态,须重新开机,若无法测量请长按“设置”键,输入密码:向上键、向下键,按设置键进入恢复出厂设置界面,选择恢复出厂设置,按设置键即可恢复(若无法恢复时请联系厂家)。
九、用户操作
·拉伸弹簧的变形量、工作负荷测试:
A、接上电源,按下电源开关开机自检;
B、按[置零]键,听到一声蜂鸣确认;9659彩集团
C、向上驱动手柄,连接上下拉簧钩头,驱动调整手柄,至负荷显示接近被测弹簧试验负荷值时,按下变形量显示置零钮。
D、挂上被测拉簧,驱动手柄拉至所需变形量,读取负荷显示数值,即为该弹簧此变形量下的工作负荷值。
·压缩弹簧的变形量、工作负荷测试:
A、同上;
B、同上;
C、向下驱动手柄使上下压盘(测量触头)接触,驱动(调整)手柄,至负荷显示接近被测弹簧试验负荷,按下变形量显示置零钮;
D、放置被测压簧,转动手柄压至所需变形量,读取负荷显示数值,即为该弹簧此变形量下的工作负荷值。
打印功能:
如需打印需将测试数据保存后,按打印键数据打印出来
注【1】:由于本机负荷测量传感器采用电阻应变式,当在负荷下也会产生一定的变形。为减少测量误差,变形量置零时的负荷传感器的负荷应尽可能接近被测弹簧的被测工作负荷值,以消除工作负荷传感器变形误差。当一般精度测量时,变形量置零时的负荷值可取为10~15N。
注【2】:由于变形量显示置零时,手柄向下到底置零。与测拉簧时相反,故所显示变形量为负值,实际读数取其jue对值,即正值。
·微调旋钮的使用:
A、首先将微调旋钮装置与立柱连接牢固,保持两者之间的中心在同一条线上;
B、在确认连接牢固和中心在同一条线后,先将左侧的旋钮放松以,使上旋钮能够自由运动,将旋钮调整适合位置后再将左旋钮旋紧;
C、打开数显标尺,置零后,根据测试的需要,调整上旋钮,即可得到微小的位移变量,达到精密测量的要求;
D、注明:本公司所提供ATH系列的弹簧试验机大体分为小、中、大三种量程,其中大量程没有微调旋钮装置。
十、注意事项
如果操作错误,可能会损坏本仪器或导致严重事故。本说明书中指出了预防事故发生的重要事项和仪器的使用方法,请在使用前仔细阅读此说明书,阅读后请妥善保存,以备再次阅读。
·使用注意事项
A、应保持环境清洁,避免有液体、铁屑等物质侵入变形量、工作负荷传感器部件内,损坏电子元件。
B、请用柔软的布来清洁本仪器,将布浸入泡有清洁剂的水中,拧干后再清除灰尘和污垢。
注意:不要使用易挥发的化学物质来清洁本仪器(如挥发剂、稀释剂、酒精等)
C、请勿在以下环境中操作本机
(1)潮湿的环境
(2)多尘的环境
(3)使用油或化学品的地方
(4)周围有震源的地方
D、变形量传感卡尺及滑动齿条表面可用清洁汽油擦净,并可少量钟表油润滑,不可使用丙酮、酒精。
E、长时间不使用,应拔下电源插头,做好防尘、防湿处理。
十一、故障与维修
现 象 | 原 因 | 修 理 |
变形量显示器只显示000.00或IN00.000 | 两功能按钮簧片短路 | 取下护框,使按钮簧片处于理想状态 |
变形量显示器功能按钮不起作用 | 按功能按钮用力过猛使簧片变形 | 取下护框,使按钮簧片处于理想状态 |
使用一段时间后变形量全长示值超差≤0.1mm | 变形量传感器内渗有污物 | 取下护框,拆下显示器配件,用≤5kg/cm 的清洁压缩空气喷射传感器面,并用少许汽油擦拭,以清除污物。 |
负荷显示器无显示 | 1.电源没接好。 2.开关钮没接触。 | 1.接好电源。 2.再按一下开关钮。 |