9659彩集团

ABL剥离力测试台

ABL剥离力测试台

产品型号:ABL

负责人:张雅丽

QQ:827928594

手机:13937153969

产品详情

ABL剥离力测试台

功能

ABL-90°剥离力zhuan用测试台,专为NK、HF系列推拉力计配备,可组合成不同用途的试验机台,专门用于试验PC板上铜箔电路附着力或锡箔、铝箔、胶布等。黏着于物体表面牢度。试验时以垂直之角度剥离试样。以测得实际强度。

特点

9659彩集团· 手动操作,梯型螺杆传动,操作简单稳定。

· 可将本机架安装于桌(台)面使用,使机架更加稳固。

规格参数

· 有效行程: 150mm

· z大负荷:500N

9659彩集团· 长 × 宽× 高:350×210×450 mm

· 净重:19kg

· 测试区有效面积:105×100 mm ,z大可达105×152mm

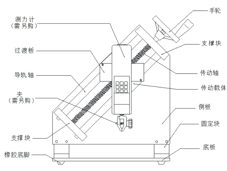
结构示意图

image.png


您可以通过在线留言联系我们:

Welcome乐盈|首页 祥彩网455770 - 首页 E乐彩 - 首页 e77乐彩 - 首页 美彩7709|官方网站 百万至尊 - 首页 启航彩 - 安全购彩 9198汇彩网 - 首页